南京证券披露一季报,公司2026年一季度实现营业收入7.23亿元,同比下降4.45%;归母净利润2.93亿元,同比增长5.93%。
举报 第一财经广告合作,请点击这里此内容为第一财经原创,著作权归第一财经所有。未经第一财经书面授权,不得以任何方式加以使用,包括转载、摘编、复制或建立镜像。第一财经保留追究侵权者法律责任的权利。如需获得授权请联系第一财经版权部:banquan@yicai.com 相关阅读

天华新能今日20cm涨停,3家机构专用席位净买入1.27亿元
天华新能今日20cm涨停,3家机构专用席位净买入1.27亿元

2025-09-05 16:30

锦浪科技今日20cm涨停,3家机构专用席位净买入3.36亿元
锦浪科技今日20cm涨停,3家机构专用席位净买入3.36亿元
元股证券:ygzq.hk 2025-09-05 16:29

胜宏科技今日20cm涨停,陈小群席位净买入9.21亿元
胜宏科技今日20cm涨停,陈小群席位净买入9.21亿元
18 2025-09-05 16:27

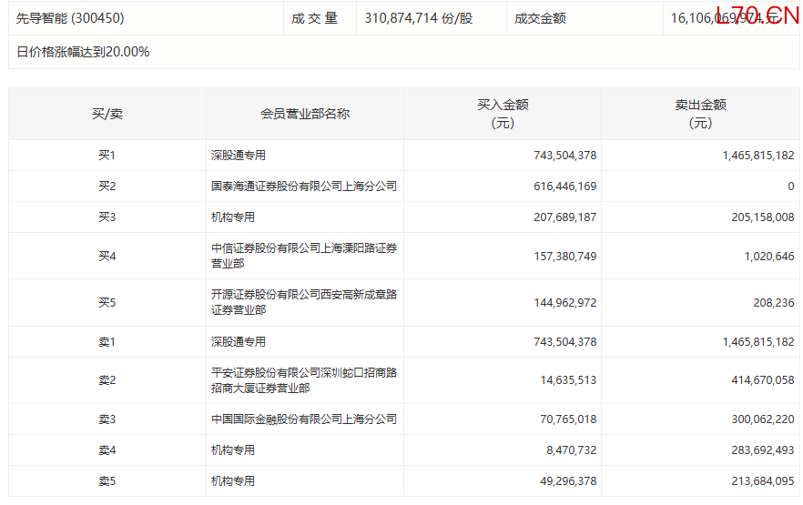
先导智能今日20cm涨停,有2家机构专用席位净卖出4.40亿元
先导智能今日20cm涨停,有2家机构专用席位净卖出4.40亿元
2025-09-05 16:26

年内沪市增持回购金额最高达1159亿元
同期股票新手指南,科创板新增回购69家次、回购金额上限63.82亿元;新增增持22家次,增持金额上限17.73亿元。
元股证券 152 2025-09-04 19:13 一财最热 点击关闭
元股证券6-10倍杠杆配资|轻松把握市场机会提示:本文来自互联网,不代表本网站观点。